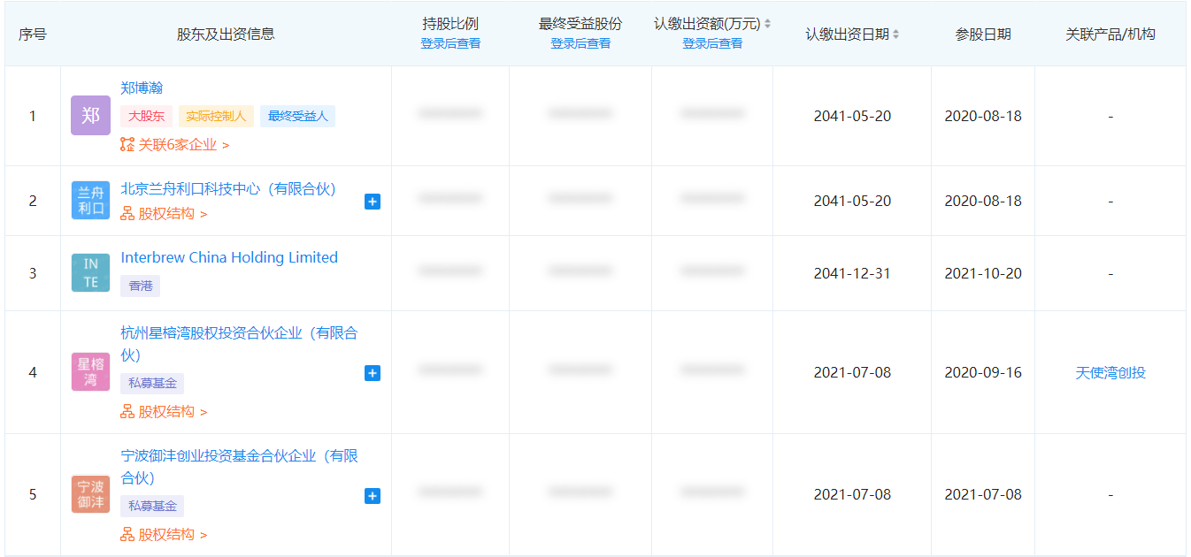
10月20日,新果酒品牌“兰舟”所属公司杭州利口酒业有限公司股权发生变更,新增股东香港 Interbrew China Holding Limited公司(英特布鲁中国),持股比例为20%,目前为第三大股东,也是杭州利口酒业最大的投资人,而Interbrew China Holding Limited实控人为百威集团。

兰舟旗舰店
资料显示杭州利口酒业有限公司成立于2020年8月,目前已上市多款低度果酒,有青梅酒、桃子酒、薄荷酒、桑葚酒等,这类酒品都是为迎合年轻消费群体,做到低度、色泽、味蕾、社交完美融合媒介产品。
根据兰舟官网介绍,兰舟初创团队成员来自江小白、达能中国、统一食品、YOOZ、中国香精香料、搜狐、网易等快消品和互联网巨头,拥有丰富的酒业创业经验和对市场深刻的东西。创始人郑博瀚是原YOOZ电子烟产品合伙人、原搜狐互金移动业务负责人。联合创始人王增平是原江小白京津冀大区营销总监、原达能大区负责人。

QCC截图
此次投资再次印证兰舟商业方向获得资本看好,除了本次获得国际知名酒企百威投资外,今年7月还获得天使湾创投千万级投资。由资本加持的兰舟,也将研制出更多年轻群体喜爱的果酒。(不朽情缘网 www.jiuzhan.com)
扫码加微信进群、合作、报道、投稿……
添加时请注明身份、来意,谢谢!

不朽情缘网













